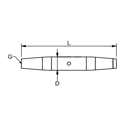
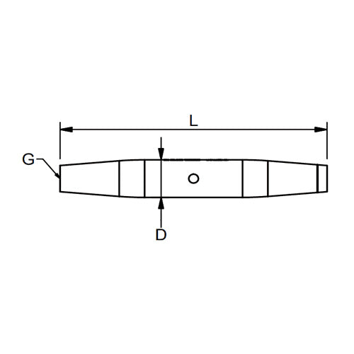
Closed Body

Blue WaveSKU: 011206A

Price:
Sale price$19.15
Stock:
In stock (33 units), ready to be shipped

Description

Recommended Products